Čtyřhranné komponenty.

Čtyřhranné vzduchotechnické potrubí slouží stejně jako kruhové potrubí k dopravě vzduchu. Výhodou čtyřhranného potrubí je, že se lépe přizpůsobuje rozměrům stavby a snáze se vyrábějí tvarové kusy. Čtyřhranné potrubí vyrábíme z tabulového nebo svitkového ocelového pozinkovaného plechu DX51D MAC s vrstvou zinku 275 g/m2 s potlačovaným květem.

←Zpět

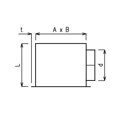
Komora na koncový prvek čtyřhranný

Popis

Komora na koncový prvek čtyřhranný se používá jako distribuční prvek vzduchotechnického rozvodu. Standardně se vyrábí v níže uvedeném provedení, nadstandardně je možné komoru na koncový prvek čtyřhranný vyrobit podle konkrétního požadavku.

Standardní provedení

  • Obsah pro Vás připravujeme. Děkujeme za pochopení.
KAKP - schema

* Povinně zadávané parametry

Poptávka KAKP:


Rozměr A (mm): Rozměr B (mm): Rozměr L (mm):
Rozměr d (mm):


Vygenerovaný kód: Množství (ks):